维格斯(上海)阀门有限公司
Product

产品中心

产品中心

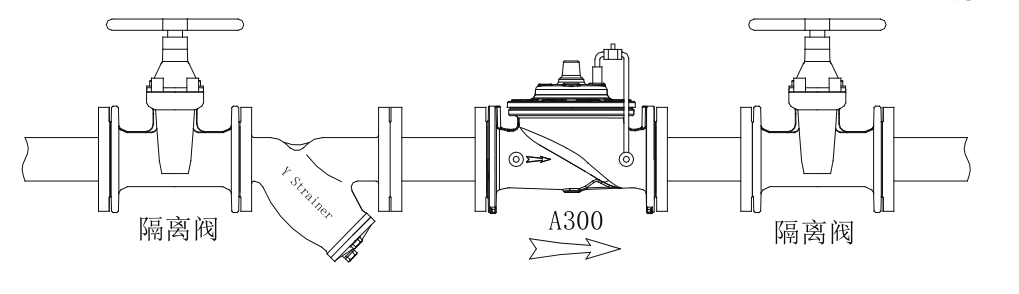
300型缓闭止回阀功能:作为止回阀、可以控制开及关的速度。

静音式止回阀主要装置于抽水机出口处,当抽水机 停止运转时,此阀门的设计由于具有弹簧及短行程的特色,可以在抽水机完全停止运转之前迅速将阀瓣关闭,可以避免水锤及水击声的发生而达到静音的效果。

消声止回阀的主要作用是防止回水倒流,避免 对泵造成损坏,常安装于水泵出口处,只允许介质向一个方向流动。通常这种阀门是自动工作的,在一个方向流动的流体压力作用下,阀瓣打开;流体反方向流动时,由流体压力和阀瓣的自重合阀瓣作用于阀座,从而切断流动。 不宜用于含有固体颗粒和粘度较大的介质。应用的领域有排水、消防等领域。

旋启式止回阀的采用内装摇臂旋启式结构,阀门所有启闭件都装于阀体内部,不穿透阀体,除了中法兰部位用密封垫片和密封环,整体没有外漏点,杜绝阀门外泄的可能。主要用于石油、化工、制药、化肥、电力等管路上。

不锈钢丝扣止回阀精度高、外观美、造型小、水平安装,主要适应管道系统中防止介质倒流使用,可应用于:化工、石化、石油、造纸、采矿、电力、液化气、食品、制药、给排水、市政、机械设备配套、电子工业、城建领域。

橡胶瓣止回阀,可靠的防止水倒流,同时可以分别使用于清水,污水系统。它本身是一个40 度角度的设计,可以提升关闭速度以降低水锤及水击声。

双板式对夹止回阀主要由阀体、阀板、阀杆及弹簧等重要零件组成,该阀主要安装在给水系统、高楼建筑以及工业厂房等。由于其面间距较一般止回阀短,特别适合安装在空间较紧凑的场合。

  • 双板式对夹止回阀

    双板式对夹止回阀

  • 橡胶瓣止回阀

    橡胶瓣止回阀

  • 不锈钢旋启式止回阀

    不锈钢旋启式止回阀

  • 不锈钢旋启式止回阀

    不锈钢旋启式止回阀

  • 球墨铸铁消声止回阀

    球墨铸铁消声止回阀

  • 不锈钢消声止回阀

    不锈钢消声止回阀

  • 静音式止回阀

    静音式止回阀

  • 示意图

    示意图

  • 300型缓闭止回阀

    300型缓闭止回阀

  ICP:沪ICP备19023900号-4 腾云建站仅向商家提供技术服务